DELEKS S.r.l.
Via Industriale, 23
25028 Verolanuova (BS) Italy
Tel. 030 6585725
Mail info@deleks.com
Lun - Ven: 9.00-13.00 / 14.00-18.00
FREILAUF 2
DETAILS
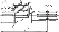
Deleks® FREILAUF rechts AUSSEN-/INNEN. 1''3/8 6-Zahn
Zertifiziert durch ECM Ente Certificazione Macchine © (Bologna - Italien)
Bei Drehrichtungsumkehr oder wenn die Drehzahl des eigentlich anzutreibenden Teils größer als die des treibenden Teils ist, wird die Verbindung selbsttätig gelöst. Da die Welle bereits mit einer anderen Sicherheitsvorrichtung versehen ist, wird der Freilauf auf den Zapfwellenstummel des Traktors montiert.
LÄNGE (MM) :193
DREHMOMENT (NM) :3500
MERKMALE
| Merkmale | Metrische Einheit |
|---|---|
| Gewicht | 2 kg |
DETAILS
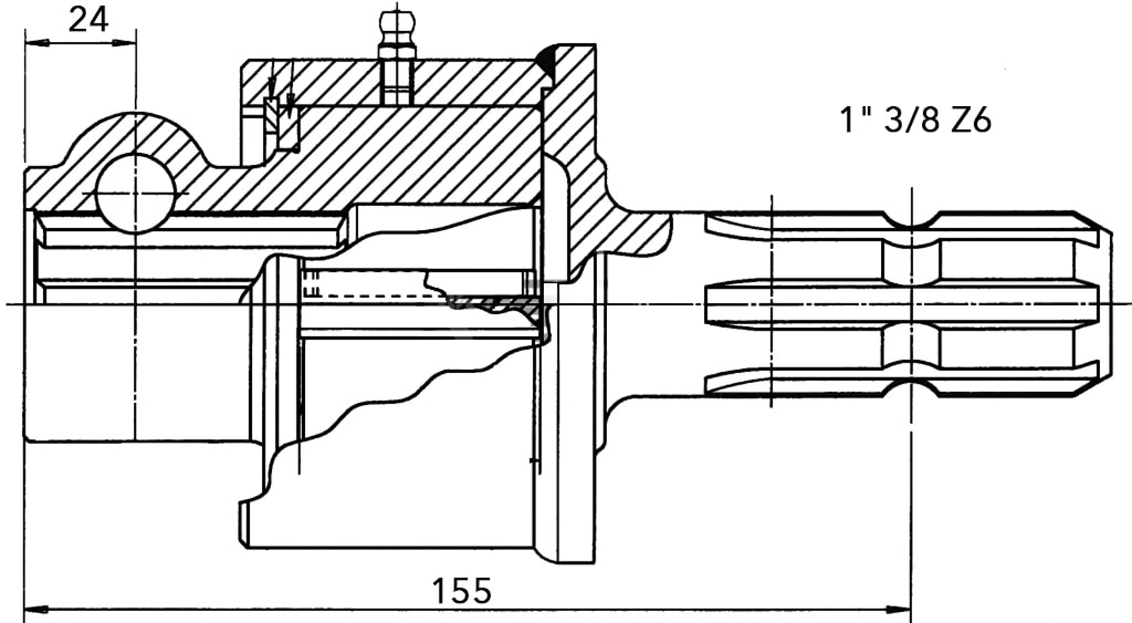
SCHLIESSENDeleks® FREILAUF rechts AUSSEN-/INNEN. 1''3/8 6-Zahn
Zertifiziert durch ECM Ente Certificazione Macchine © (Bologna - Italien)
Bei Drehrichtungsumkehr oder wenn die Drehzahl des eigentlich anzutreibenden Teils größer als die des treibenden Teils ist, wird die Verbindung selbsttätig gelöst. Da die Welle bereits mit einer anderen Sicherheitsvorrichtung versehen ist, wird der Freilauf auf den Zapfwellenstummel des Traktors montiert.
LÄNGE (MM) :193
DREHMOMENT (NM) :3500
MERKMALE
SCHLIESSEN| Merkmale | Metrische Einheit |
|---|---|
| Gewicht | 2 kg |
English
Nederlands
